高壓釜出口
日期:2020-01-04 10:55:02
CONVECTIONAL
GLASS AUTOCLAVE

Changzhou HUAYANG Glass Equipment CO., LTD
|
1. Brief Introduction
The assembling of two or more glass sheets with a kind of laminated plastic film interposed between them, after being adequately treatment in autoclave, is called SAFETY LAMINATED GLASS.. Of large use, and more and more requested by the market by virtue of the more restrictive norms in subjects like stoutness and security are tempered glass, both flat and curved, up to break-through proof and bullet-proof glasses. Therefore, it can be easily understood how the kind of assembling of laminated plastic (PVB) and above all the polymerization treatment inside the autoclave are of essential importance to obtain a product with good quality.
|
![]() |
2. Basic Data
2-1. Model and Size of the Convectional Glass Autoclave
Definition: Diameter of the autoclave. Effective length is to point to do the actual length of the glass.
2-1-1 Autoclave Model:GYF-3075 Diameter: 3000mm Effective length: 7500mm
2-2. Production Performance
2-2-1 Product size: max. 2440mm x3660mm
2-2-2 Product thickness: 2.8mm ~ 80mm
2-3. Production capacity (Automobile industry):
2-3-1 Working circle of autoclave: 3.5~5hours, 2circle/10h.
2-3-2 Max Capacity of autoclave: about 250 pcs. of laminated glass per circle (as 2.5G +0.76 PVB +2.5G, Glass size of the windshield: 1500mmX1000mm)
2-4. Electric Power:
2-4-1 Power supply: 400VAC, 3P+N+PE, 50/60Hz, >= 200KVA
2-4-2 Total power: 182 kw (including air compressor system)
The power of autoclave is 130kw, Compressor system:55 KW, Other auxiliary equipments about 8KW.
2-5. Water and Air supply:
2-5-1 Water supply: 0.5cbm/min, pressure >=3kgf/sqm
2-5-2 Air source for Autoclave: 1.3Mpa Air Source for other equipment: 0.6 - 0.8 MPa
2-6 Area of the Autoclave
Total length: appro.11000mm
Total width: about 6000mm
<See the Foundation Drawing of Glass autoclave GYF-3075>3. Equipment List and price
3.1 The main equipments :
|
Item
|
Description of equipment
|
Qty.
|
Unit Price(RMB)
|
|
001
|
Glass Autoclave (Ф3m*7.5m,Chinese Pressure vessel standard)
Including electrical cabinet and control system, Export standard
Transport to the port of Shanghai
Including tax and freight
|
1set
|
RMB 370000
|
|
002
|
Glass Autoclave (Ф3m*7.5m, European Security Certification)
Including electrical cabinet and control system, Export standard
Transport to the port of Shanghai
Including tax and freight
|
1set
|
RMB 380000
|
3.2 Peripheral equipments(Optional):
4. General feature and working process of the glass autoclave
4-1. General feature
FLOURISHGlass Autoclave is suitable for manufacturing various laminated glass, such as windscreen, bullet-proof glass,anti-bombing glass, and so on. It also can guarantee the perfect product quality and high performance,in which temperature, pressure and vacuum can be controlled effectively. It can get the best temperature and pressure for manufacturing laminated glass with various technique requirements through a full set of specially designed inner convection circulation devices combining with power adjustable heating system, pressure controlling elements and efficient cooling unit.
The whole operation process ofFLOURISH Glass Autoclave for windscreen has 5 segments. Pre-heating and pre-pressing segment,heating and pressurizing segment, temperature and pressure holding segment, cooling segment and air exhaust segment. During the whole process, temperature and pressure in all segments will be monitored by HIM or PC, and the operation process will be realized by our exclusively developed TPC(Thermal Processing Control)software which is based on PLC control system to ensure the full automatic operation.
4-2. Working process of convectional glass autoclave
5. Equipment Details
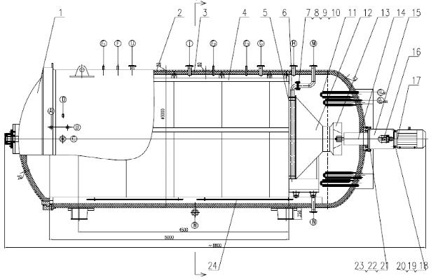
5-1. General Structure

5-2. Pressure vessel
Pressure vessel with quick-opening door, certified to Chinese Pressure Vessel Code. The certificate is GB150-2011《Steel Pressure Vessel 》
5-3. Quick Closing Doors
Ø The whole system consists of four parts: a pair of gear flange, driven devices and sealring.
Ø Hydraulicoperated door opening, closing and locking. It is controlled by PLC system.
Ø The seal ring is made of silicon rubber, high temperature resistance.
Ø
![]() |
![]() |
It can be manual operated by the switches on the electrical cabinet near the door also.
5-4. Insulation System
Ø Insulation:inner insulation
Ø Insulation material:aluminium silicate+ rock wool
Ø Internal sheet metal: stainless steel,0.8mm
Ø Insulation thickness:80mm
![]() |
![]() |
5-5. Floor supports and rails
Ø Rail loading:10,000kg,Increased loading can be offered optionally.
Ø Rail type::unequal angle steel
Ø Floor loading::400kg,Increased loading can be offered optionally.
Ø Form of floor supports :Mild Steel Checkered Plate
5-6. Heating System
Ø The heating system consists of the main heating zone and auxiliary heating zone, the heating element located in the rear to ensure uniformity of temperature during the heating process.
5-7. Pressure components
Ø Inlet and exhaust valve:3-piece ball valve.
Ø Manual exhaust valve:3-piece ball valve.
Ø Pressure transducer: 1
?Accuracy: +/- 20mbar
Includes HMI monitoring, data-acquisition, and control
5-8. Cooling system (heating exchange)
Ø The main heating exchanger is made ofAluminum finned tube, which located in the rear of the autoclave.
Ø Exchanger mounted on a transport trolley for easy system maintenance.
Ø In this phase the laminated glass is made cold.
5-9. Forced convection system
Ø Hot air channel
This glass autoclave is different from the conventional autoclaves. It has a “U” type duct that is used to transfer hot air from the rear of the autoclave to the front. This unique design features make the temperature more uniform.
![]() |
![]() |
Ø The Motor fan for circulation
The motor is bolted to the body of the autoclave, it drives the fan directly, andthey are connected by a pair of couplings, without belts.(see the picture)
Ø Main parameters of circulating motor fan
Power:15KW,
Connecting format:direct-connected
Rotate speed:960r/min(400V/50HZ),
Fan wheel:6#centrifugal impeller,
Wind pressure:980Pa,
Flow:9900M3/h.
Ø Shaft sealing and cooling
Mechanical seal ,silicon carbide - graphite materials as static and dynamic ring seal , bearings with high-temperature series .
Working, use of water cooling, to guarantee a minimum service life of more than 8000 hours, the shaft water cooling with separate water pump and flow switch to be fitted to monitor water flow and automatically alarm/stop the cycle if there is not enough water flow.
5-10. Temperature monitoring components
Ø Air temperature thermocouples: 2
PT100, including HMI monitoring,data-acquisition, and control
Ø Hi-limit thermocouple 1
PT100, including HMI monitoring/control.
5-11. Vacuum system
Ø Vacuum source ports: 6 total
Ø Each source port will include:
½"internal thread pipe joint
External manual blocking valve, stainless-steel
Ø Vacuum transducer ports: 1 total
Customer can manufacture bent and strange shape laminated glass by the vacuum system. But it is suitable for the condition that the quantity of the glass is not too much.
5-12. Control System
Ø Control System is developed based on the research and development toward glass processing industry, including the PLC central controlling part, touch screen (HIM) operation system and network. The operation of the whole system is based on the exclusive developedTPC (Thermal Processing Control )software.
Ø It can insert or save the production technique process, display the pressure and temperature curve anytime; and its paperless record function can realize record, save and check of technique curve and process parameters.
Ø Advanced TPC control software makes the controlling technique during the process of temperature waiting for pressure, pressure waiting for temperature possible to ensure the simultaneous effect of temperature and pressure according to the settled technique curve, and it also has over-temperature and overpressure alarm and various safety protection functions.
![]() Full automatic operation control and monitor run status information, data saving information, integrity check information and run override controls
|
![]() Manual operation screen allows operator take manual control temperature, pressure, vacuum, fan, and valves as allowed.
|
![]() |
![]() |
5-13. Safety systems:
Ø Mechanical and electrical interlocks for door closure,the autoclave can not be opened when pressure in the autoclave higher than air pressure。
Ø It will auto-alarm when facing over-temperature or over-pressure; meanwhile, it will drop the temperature down and release the air automatically.
Ø One Pressure safety relief valve to protect the autoclave.
5-14. Paint
FLOURISH Glass autoclave will be primed and painted high-gloss "Blue " color. Customer
requested color can be quoted optionally.
6. Main technical data of autoclave
|
GYF-3075 GLASS AUTOCLAVE TECHNICAL PARAMETER
|
|||
|
No.
|
Description
|
Unit
|
Specifications and Parameters
|
|
1
|
Inner Diameter
|
mm
|
3000
|
|
2
|
Working Length
|
mm
|
7500
|
|
3
|
Max. Glass Size
|
mm
|
2440X3660
|
|
4
|
Autoclave Track Distance
|
mm
|
800
|
|
5
|
Track height
|
mm
|
480
|
|
6
|
Design Pressure
|
Mpa
|
1.5
|
|
7
|
Design Temperature
|
℃
|
160
|
|
8
|
Working Pressure
|
Mpa
|
1.3
|
|
9
|
Working Temperature
|
℃
|
150
|
|
10
|
Safety valve exhaust
|
Mpa
|
1.4
|
|
11
|
Working Medium
|
----
|
Compressed Air
|
|
12
|
Heating Mode
|
----
|
Electric(Convection+Radiation )
|
|
17
|
Heater
|
----
|
inconel tubular heaters
|
|
18
|
Heating Power
|
KW
|
130
|
|
19
|
Circulating Fan Motor power
|
KW
|
15
|
|
20
|
Thermocouple type
|
---
|
PT100
|
|
21
|
Air Temperature Thermocouples
|
Piece
|
1
|
|
23
|
Pressure Transducer
|
Piece
|
1
|
|
24
|
Vaccum Lines
|
Piece
|
----
|
|
25
|
Control Mode
|
---
|
PLC+PC
|
|
26
|
Control Software
|
---
|
Thermal Processing Control (TPC)
|
|
23
|
Insulation
|
---
|
Internal
|
|
24
|
Supporting air tank
|
M³
|
3
|
|
25
|
Working environment temperature
|
℃
|
Min.—20℃,max +45℃
|
|
26
|
Working environment humidity
|
---
|
<60%
|
|
27
|
Power supply
|
---
|
380VAC, 3P+N+PE, 50/60Hz
|
7.PAYMENT TERM
The contract value shall be paid by the buyer to the seller in the following ways:
1. 30% of total value will be paid by T/T as down payment.
2. 70% of total value shall be paid by T/T or L/C before shipment
8. Service terms
8.1 Service before sale:
Provide relative technical data for customer choosing equipments. Design floor plan, basic general drawing and quotation.
8.2 Service in sale:
After the contract working, we will execute each item and keep relevant standards strickly in every manufacturing process. Keep in touch with customer and make sure that craft, quality and technology could meet the requirements.
8.3 Service after sale:
Help customer for installation and training at site. Maintenance and repair for one year. Customer should pay for the round-trip flight ticket and accommodation.
9. Quotation Validity
Our quotation will be available in 30 days after we send it you by a formal way: fax, email or courier.















